我国专利法规定的专利类型有三种:发明专利、实用新型专利和外观设计专利。
发明是指对产品、方法或者其改进所提出的新的技术方案。它又分为产品发明和技术方案的方法发明。产品发明是指一切以有形形式出现的发明,即用物品来表现其发明,例如机器、设备、仪器、用品等。方法发明是指发明人提供的技术解决方案是针对某种物质以一定的作用、使其发生新的技术效果的一种发明。方法发明是通过操作方式、工艺过程的形式来表现其技术方案的。
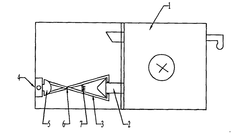
案例一
发明名称:钥匙型安全插头及其插座
申请号:CN200710015559.1
申请/专利权人:李应心
一种钥匙型安全插头及其插座,主要解决插头插座使用安全可靠性问题。钥匙型安全插头,其特征在于:插头本体呈钥匙型的绝缘体,与插头各电极连接的导线埋设于插头本体内,其中插头地线电极位于插头本体顶端,插头零线电极位于插头本体后部环形设置,插头火线电极在插头本体中间侧外突。与该插头相配合使用的插座,其特征在于:插座上设有与插头相配合的插孔,插孔内设有与插头外突火线电极相配合的火线隧道槽,插头的各电极均布设于电极槽内,电极内端设有复位弹簧,电极槽的位置与插头上电极所在位置对应。
案例二
发明名称:锁中锁
申请号:CN200610044419.2
申请/专利权人:王民
锁中锁,它涉及一种锁具,解决了一把钥匙开一把锁安全性差的问题。将所述主锁的锁头设计成蘑菇形,与主锁锁头同轴线设置有副锁,副锁的锁头设计成半球状,在两根转动杆上靠棘爪的一端设有一个连接两根转动杆的拉簧,两根转动杆的另一端与副锁的锁头相对应。本发明只有同时具备这两把钥匙,才能正常使用这种新型锁中锁,增大安全性,防护能力大大提高。可用于各种门、仓库、保险柜。

校址: 北京市顺义区天竺开发区安华街9号恒信彩 邮编: 101300
人力资源部:010-80413037 家长接待中心:010-80467117 80467116 80413001
Email: principal@bjnewtalent.com(校长邮箱) luoyj@bjnewtalent.com(家长接待中心) hr@bjnewtalent.com(人力资源部)
版权所有 Copyright @ 恒信彩 公安机关备案号:11011302001395 京ICP备09059936号-1